產品總匯
PGS-12型柱上高壓六氟化硫斷路器
-
1、概述:
PGS-12/24/40.5型戶外柱上安裝的負荷開關適合用于額定電壓12/24/40.5kV,額定電流630A、50/60Hz配電網開斷、關合電力系統中的負荷電流、過載電流,能夠自動將發生故障的配電線路區段隔離開。開關帶有新技術的電子控制器,可以手動操作、電動操作和遠距離操作。電子控制器裝在不銹鋼箱體內,能夠適合各種氣候條件下使用。此外,箱體內還可安裝了有線和無線調制解調器,可以實現遠距離監視和控制。簡單的柱上安裝布置方便、快速,降低施工成本。
2.標準使用條件:
此SF6氣體負荷開關適應運行條件:
2.1環境溫度
2.1.1周圍空氣溫度:上限+50℃,下限-40℃。
2.1.2相對濕度:100%
2..2海拔不超過3000m。
2.3風壓不超過700pa(相當于風速34m/s)。
2.4地震烈度:8度。
2.5安裝場所:沒有火災、爆炸危險,無化學腐蝕及經常性劇烈震動。
2.6污穢等級:Ⅲ類、Ⅳ類。
3.特征:
3.1SF6氣體絕緣
3.1.1SF6氣體是無毒、不可燃的電絕緣氣體,具有極佳的滅弧特性。
3.2套管多樣性
3.2.1除了標準陶瓷套管外,還可以提供多種方案,包括在環氧設備套管上的橡膠絕緣子。
3.3可見的斷開/閉合狀態
3.3.1站在地上很容易看清用顏色標記的主觸點位置指示器(綠 – 斷開;紅 – 閉合)。該指示器與主觸點驅動軸總成直接連接,確保準確顯示觸點狀態。
3.4快速操作
3.4.1采用彈簧儲能的操作機構確??焖俸祥l與分閘操作(少于100毫秒)。
3.5可以實現遙控
3.5.1備有電子控制器,既可就地操作,也可用FTU界面實現主控臺操作。
3.6堅固耐用的開關
3.6.1開關采用經過驗證的堅固耐用、抗腐蝕的材料(軍艦專用304L不銹鋼鋼板)做成,確保有很長的使用壽命(30年),并能實施一系列操作,具有柱上設備理想的特性。
3.7標準
3.7.1每一開關出廠前已經充裝好SF6氣體,密封處理,并按IEC60265-1(1988)、GB3804-1990標準進行試驗。
4.類型與額定值:
4.1產品型號
4.2產品型號說明
4.4參數額定值
表1
序號
名 稱
單位
數 據
1
額定電壓
kV
12
24
40.5
2
額定頻率
Hz
50/60
50/60
50/60
3
額定絕緣水平
(所充SF6氣體0.07Mpa
/ 20℃時)
雷電沖擊耐壓
相間,相對地
kV
75
125
185
斷口
85
145
215
工頻耐壓
1min
相間,相對地
kV
42
64
95
斷口
50
79
110
4
零表壓下的絕緣水平
工頻耐壓1min
kV
30
反相耐壓1min
30
最高相電壓5min
9
5
額定電流
A
630
630
630
6
額定開斷負荷電流 (0.07Mpa / 20℃時)
A
630
630
630
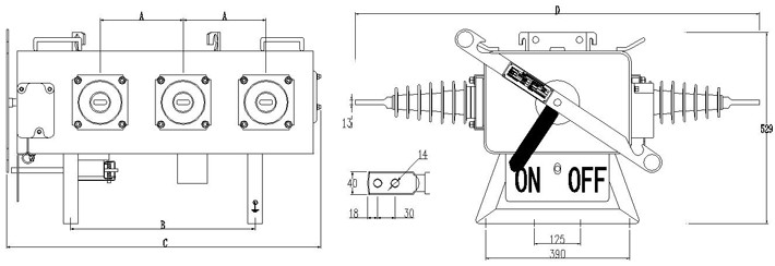
外形尺寸(mm)
安裝尺寸(mm)
套管爬距(mm)
A
B
C
長×寬
12Kv
225
435
500
500×125(280)
556
24kv
300
435
500
500×125(280)
840
40.5Kv
350
435
500
700×125(280)
1250
5.外形尺寸:


















